太阳成集团tyc33455cc
地址:巩义西村镇管道产业园
手机:155 1588 7365 (同微)
联系时可以说明是从< 太阳成tyc官网>看到我们的,感谢您的信任!
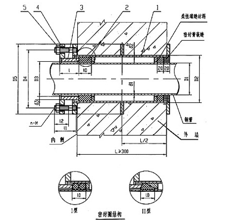
钢性防水套管主要是按照国标标准建筑局所设计的标准02S404所生产的,该产品主要适用于管道穿墙处不承受震动的五金管件。
钢性防水套管也可以适用于铸铁管和非金属管,该产品的尺寸表内所列的材料的重量为钢套管以及翼环的重量,该产品穿墙处的墙壁,如果遇到非混凝土墙壁的时候应该改用混凝土的墙壁,而且在混凝土范围浇筑的时候,套管应该比翼环的直径再大200mm,而且必须将套管一次性的凝固于墙体的内部,该产品的图集如下:
地址:巩义市西村镇管道装备产业园
手机:李经理 155 1588 7365(同微)
豫公网安备 41910102000887号